[ 更新时间:[ ] 版本: 类型:]
事前风险控制,事中风险控制,事后风险处置为主线解决车贷风控行业痛点问题;事前风险控制,通过信用评估模块实现多个维度查询车主信用,降低贷前风险;事中风险控制,实时监控、报警推送、资产分析、统计报表、风险预警、风险评估等功能达到平台自动判断风险车辆、实时报警推送、平台通过算法数据整理;事后风险处置,轨迹风险评估记录风险轨迹,追车事件记录。
更增加4种业务,BS端与移动端相结合实现安装任务、维修任务、暗访任务和追车任务,协助安装工、业务员、追车团队完成任务,任务记录查询。
登陆地址:fk.exlive.cn

亮点功能

首页

安装任务

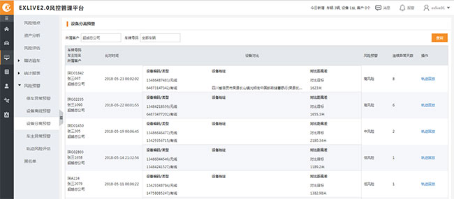
风险点

风险评估

轨迹回放对比

任务短信提醒

设备分离预警

手机端监控

手机端安装任务

手机端对比

手机端周边任务